
Model 248 Pressure Transducer
The “48” Series is made to withstand overloads and severe pressure spikes that can offset, weaken or destroy other sensors. The minimum 3X overpressure rating on the X48 means better than 0.15% accuracy while still offering a response time of less than a millisecond. It’s designed to provide years of reliable, repeatable service.
Typical Applications:
• Engine test stands
• Production test stands
• Hydraulic
• Compressors & Pumps
• Rolling mills
• Die Casting
Contact our Application Engineers today to customize this unit to meet your specific needs.
PERFORMANCE
Full Scale Pressure Ranges | 0-15 thru 0-200 PSIA (0-1.0 thru 0-13.7 bar) 0-3 thru 0-15K PSIG, PSIS (0-0.2 thru 0-1034 bar) 0-15 PSIV* (0-1.03 BarV |
|
Accuracy (combined linearity, hysteresis & repeatability) | 0-200 PSI (0-13.7 bar) ≤±0.25% FSO 300 - 15K PSI (20-1034 bar) ≤ 0.15 |
|
Full Scale Output (FSO) | 5 Vdc ±1% | |
Resolution | Infinite | |
Long Term Stability | ≤0.5% FSO per 6 months | |
Compensated Temperature Range | 70°F to 170°F (21°C to 77°C) | |
Ambient Operating Temperature Range | -40°F to 185°F (-40°C to 85°C) | |
Storage Temperature Limits | -40°F to 250°F (-40°C to 121°C) | |
Temperature Effect on Zero | ≤± 1 % FSO per 100°F | |
Temperature Effect on Span | ≤± 1 % FSO per 100°F | |
* For PSIV and Compound Range units | Temperature Effect on Zero ≤±3.0% per 100°F Compensated Temperature Rang |
ELECTRICAL
Supply Voltage:
|
9 to 30 Vdc
|
|
Power Supply Regulation Effect
|
≤±0.05% FSO per volt over the supply voltage range
|
|
Output Signal
|
0 - 5 Vdc
|
|
Circuit Protection | Reverse polarity protected | |
Insulation Resistance | <5 nSec | |
Response Time | ≤1 mSec for 10% to 90% FSO | |
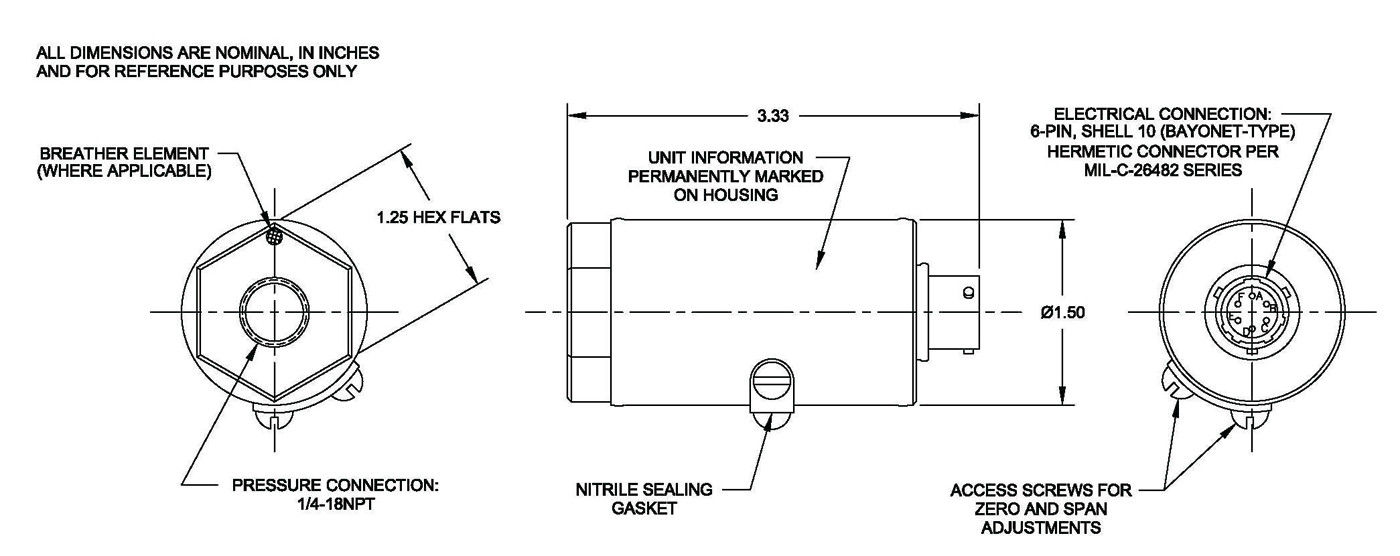
Electrical Connection | 6 pin hermetic, bayonet-style, 303 SST weldmount connector | |
Pin Outs | Pin A + Power Pin B - Power Pin C + Signal Pin D - Signal Pin E No connection Pin F No connectio |
MATERIALS OF CONSTRUCTION
Wetted Parts
|
0-3 thru 200 PSI (0-0.2 thru 13 bar) 316 Stainless Steel
>200 PSI (>13 bar) 15-5PH stainless steel |
|
Housing
|
316 / 304L Stainless Steel |
|
Weight
|
10 oz (283 g)
|
|
Identification | Laser etched onto body |
MECHANICAL
Pressure Connection:
|
1/4" - 18 NPT female
|
|
Proof Pressure:
|
3 times FSPR or 20K PSI (1378 bar), whichever is less
|
|
Burst Pressure:
|
5 times FSPR or 45K PSI (3102 bar), whichever is less
|
|
Pressure Cavity Volume | 3 mL without fittings | |
Mounting | May be supported by process piping |
DIMENSIONS